SA89減速機銘牌參數說明解讀含義:有關型號描述的詳細情況及其他信息可以參閱本業附件下載中的SA89減速機選型樣本。
SA89-BEJB5.5KW-4P-39.01-M3-180°
SA:系列代號
89:減速機規格代號
BEJB:電機
5.5KW:電機功率
4P:電機級數
39.01:減速機傳動比
M3:減速機安裝位置
180°:接線盒位置

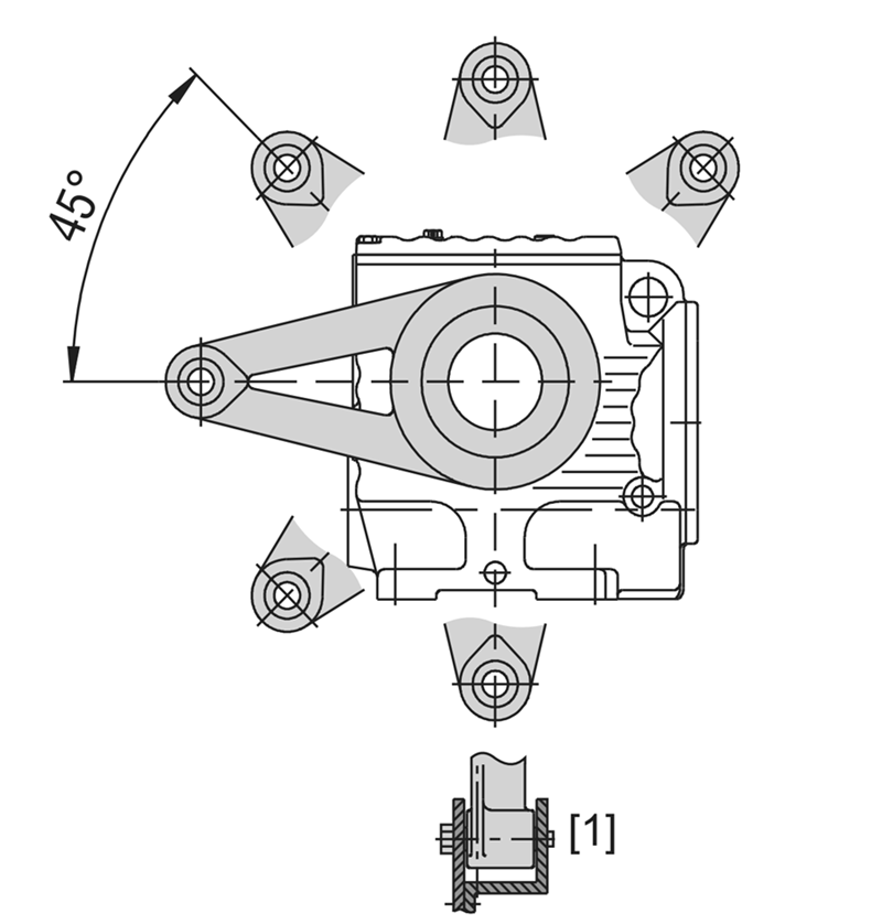
SA89減速機扭力臂安裝:
裝配時不得對扭矩支架用力過猛,固定扭矩臂時應采用強度為8.8級的螺栓。下圖為SA89減速機的扭力臂安裝示意圖:兩面均安裝支架。齒輪減速電機

減速機型號 | 螺栓 | 擰緊扭矩 |
SA39減速機 | 4xM6x16-8.8 | 11Nm |
SA49減速機 | 4xM8x20-8.8 | 25Nm |
SA59減速機 | 6xM8x20-8.8 | 25Nm |
SA69減速機 | 8xM12x25-8.8 | 86Nm |
SA79減速機 | 8xM12x35-8.8 | 86Nm |
SA89減速機 | 8xM16x35-8.8 | 210Nm |
SA99減速機 | 8xM16x35-8.8 | 210Nm |
SA89減速機電機安裝和電機安裝位置的調整:
均勻調整螺母將電機安裝平臺固定到需要的位置。如要將SA89減速機的位置調整到最低,則在必要情況下可以拆除吊裝螺栓/吊耳;對于損傷的漆面部位進行修補。自鎖減速機
將電機與電機安裝平臺對準(軸端不許對齊)并固定。
將輸入端部件安裝于輸入端的軸端面和電機軸,將輸入部件、軸端與電機軸的位置相互校正;如果必要可以對電機位置進行再次校正。
裝上傳動部件(V型皮帶、鏈條...)并均勻調節電機安裝平臺使其預張緊。期間不得用力過猛,否則將會擰壞電機安裝平臺和螺桿。
擰緊非調整螺母以固定螺桿。伺服電機連接減速機

SA89減速機型號:
SSA87-Y0.55KW,SSA87-Y0.75KW,SSA87-Y1.1KW,SSA87-Y1.5KW,SSA87-Y100M4,SSA87-Y112M4,SSA87-Y11KW,SSA87-Y132M4,SSA87-Y15KW,SSA87-Y160M4,SSA87-Y2.2KW,SSA87-Y3KW,SSA87-Y4KW,SSA87-Y5.5KW,SSA87-Y7.5KW,SSA87-Y71M4,SSA87-Y80M4,SSA87-Y90M4,SSA87-YB100M4,SSA87-YB112M4,SSA87-YB132M4,SSA87-YB160M4,SSA87-YB71M4,SSA87-YB80M4,SSA87-YB90M4,SSA87-YDP100M4,SSA87-YDP112M4,SSA87-YDP132M4,SSA87-YDP160M4,SSA87-YDP71M4,SSA87-YDP80M4,SSA87-YDP90M4,SSA87-YE100M4,SSA87-YE112M4,SSA87-YE132M4,SSA87-YE160M4,SSA87-YE71M4,SSA87-YE80M4,SSA87-YE90M4,SSA87-YEJ100M4,SSA87-YEJ112M4,SSA87-YEJ132M4,SSA87-YEJ160M4,SSA87-YEJ71M4,SSA87-YEJ80M4,SSA87-YEJ90M4,SSA87-YEJB100M4,SSA87-YEJB112M4,SSA87-YEJB132M4,SSA87-YEJB160M4,SSA87-YEJB71M4,SSA87-YEJB80M4,SSA87-YEJB90M4,SSA87-YP100M4,SSA87-YP112M4,SSA87-YP132M4,SSA87-YP160M4,SSA87-YP71M4,SSA87-YP80M4,SSA87-YP90M4,SSA87-YPB100M4,SSA87-YPB112M4,SSA87-YPB132M4,SSA87-YPB160M4,SSA87-YPB71M4,SSA87-YPB80M4,SSA87-YPB90M4,SSA87-YPE100M4,SSA87-YPE112M4,SSA87-YPE132M4,SSA87-YPE160M4,SSA87-YPE71M4,SSA87-YPE80M4,SSA87-YPE90M4,SSA87-YS100M4,SSA87-YS112M4,SSA87-YS132M4,SSA87-YS160M4,SSA87-YS71M4,SSA87-YS80M4,SSA87-YS90M4,SSA87-YVB100M4,SSA87-YVB112M4,SSA87-YVB132M4,SSA87-YVB160M4,SSA87-YVB71M4,SSA87-YVB80M4,SSA87-YVB90M4,SSA87-YVP100M4,SSA87-YVP112M4,SSA87-YVP132M4,SSA87-YVP160M4,SSA87-YVP71M4,SSA87-YVP80M4,SSA87-YVP90M4,SSA87-YVPEJ100M4,SSA87-YVPEJ112M4,SSA87-YVPEJ132M4,SSA87-YVPEJ160M4,SSA87-YVPEJ71M4,SSA87-YVPEJ80M4,SSA87-YVPEJ90M4,NSA87-Y0.55KW,NSA87-Y0.75KW,NSA87-Y1.1KW,NSA87-Y1.5KW,NSA87-Y100M4,NSA87-Y112M4,NSA87-Y11KW,NSA87-Y132M4,NSA87-Y15KW,NSA87-Y160M4,NSA87-Y2.2KW,NSA87-Y3KW,NSA87-Y4KW,NSA87-Y5.5KW,NSA87-Y7.5KW,NSA87-Y71M4,NSA87-Y80M4,NSA87-Y90M4,NSA87-YB100M4,NSA87-YB112M4,NSA87-YB132M4,NSA87-YB160M4,NSA87-YB71M4,NSA87-YB80M4,NSA87-YB90M4,NSA87-YDP100M4,NSA87-YDP112M4,NSA87-YDP132M4,NSA87-YDP160M4,NSA87-YDP71M4,NSA87-YDP80M4,NSA87-YDP90M4,NSA87-YE100M4,NSA87-YE112M4,NSA87-YE132M4,NSA87-YE160M4,NSA87-YE71M4,NSA87-YE80M4,NSA87-YE90M4,NSA87-YEJ100M4,NSA87-YEJ112M4,NSA87-YEJ132M4,NSA87-YEJ160M4,NSA87-YEJ71M4,NSA87-YEJ80M4,NSA87-YEJ90M4,NSA87-YEJB100M4,NSA87-YEJB112M4,NSA87-YEJB132M4,NSA87-YEJB160M4,NSA87-YEJB71M4,NSA87-YEJB80M4,NSA87-YEJB90M4,NSA87-YP100M4,NSA87-YP112M4,NSA87-YP132M4,NSA87-YP160M4,NSA87-YP71M4,NSA87-YP80M4,NSA87-YP90M4,NSA87-YPB100M4,NSA87-YPB112M4,NSA87-YPB132M4,NSA87-YPB160M4,NSA87-YPB71M4,NSA87-YPB80M4,NSA87-YPB90M4,NSA87-YPE100M4,NSA87-YPE112M4,NSA87-YPE132M4,NSA87-YPE160M4,NSA87-YPE71M4,NSA87-YPE80M4,NSA87-YPE90M4,NSA87-YS100M4,NSA87-YS112M4,NSA87-YS132M4,NSA87-YS160M4,NSA87-YS71M4,NSA87-YS80M4,NSA87-YS90M4,NSA87-YVB100M4,NSA87-YVB112M4,NSA87-YVB132M4,NSA87-YVB160M4,NSA87-YVB71M4,NSA87-YVB80M4,NSA87-YVB90M4,NSA87-YVP100M4,NSA87-YVP112M4,NSA87-YVP132M4,NSA87-YVP160M4,NSA87-YVP71M4,NSA87-YVP80M4,NSA87-YVP90M4,NSA87-YVPEJ100M4,NSA87-YVPEJ112M4,NSA87-YVPEJ132M4,NSA87-YVPEJ160M4,NSA87-YVPEJ71M4,NSA87-YVPEJ80M4,NSA87-YVPEJ90M4,WSA87-Y0.55KW,WSA87-Y0.75KW,WSA87-Y1.1KW,WSA87-Y1.5KW,WSA87-Y100M4,WSA87-Y112M4,WSA87-Y11KW,WSA87-Y132M4,WSA87-Y15KW,WSA87-Y160M4,WSA87-Y2.2KW,WSA87-Y3KW,WSA87-Y4KW,WSA87-Y5.5KW,WSA87-Y7.5KW,WSA87-Y71M4,WSA87-Y80M4,WSA87-Y90M4,WSA87-YB100M4,WSA87-YB112M4,WSA87-YB132M4,WSA87-YB160M4,WSA87-YB71M4,WSA87-YB80M4,WSA87-YB90M4,WSA87-YDP100M4,WSA87-YDP112M4,WSA87-YDP132M4,WSA87-YDP160M4,WSA87-YDP71M4,WSA87-YDP80M4,WSA87-YDP90M4,WSA87-YE100M4,WSA87-YE112M4,WSA87-YE132M4,WSA87-YE160M4,WSA87-YE71M4,WSA87-YE80M4,WSA87-YE90M4,WSA87-YEJ100M4,WSA87-YEJ112M4,WSA87-YEJ132M4,WSA87-YEJ160M4,WSA87-YEJ71M4,WSA87-YEJ80M4,WSA87-YEJ90M4,WSA87-YEJB100M4,WSA87-YEJB112M4,WSA87-YEJB132M4,WSA87-YEJB160M4,WSA87-YEJB71M4,WSA87-YEJB80M4,WSA87-YEJB90M4,WSA87-YP100M4,WSA87-YP112M4,WSA87-YP132M4,WSA87-YP160M4,WSA87-YP71M4,WSA87-YP80M4,WSA87-YP90M4,WSA87-YPB100M4,WSA87-YPB112M4,WSA87-YPB132M4,WSA87-YPB160M4,WSA87-YPB71M4,WSA87-YPB80M4,WSA87-YPB90M4,WSA87-YPE100M4,WSA87-YPE112M4,WSA87-YPE132M4,WSA87-YPE160M4,WSA87-YPE71M4,WSA87-YPE80M4,WSA87-YPE90M4,WSA87-YS100M4,WSA87-YS112M4,WSA87-YS132M4,WSA87-YS160M4,WSA87-YS71M4,WSA87-YS80M4,WSA87-YS90M4,WSA87-YVB100M4,WSA87-YVB112M4,WSA87-YVB132M4,WSA87-YVB160M4,WSA87-YVB71M4,WSA87-YVB80M4,WSA87-YVB90M4,WSA87-YVP100M4,WSA87-YVP112M4,WSA87-YVP132M4,WSA87-YVP160M4,WSA87-YVP71M4,WSA87-YVP80M4,WSA87-YVP90M4,WSA87-YVPEJ100M4,WSA87-YVPEJ112M4,WSA87-YVPEJ132M4,WSA87-YVPEJ160M4,WSA87-YVPEJ71M4,WSA87-YVPEJ80M4,WSA87-YVPEJ90M4,ASA87-Y0.55KW,ASA87-Y0.75KW,ASA87-Y1.1KW,ASA87-Y1.5KW,ASA87-Y100M4,ASA87-Y112M4,ASA87-Y11KW,ASA87-Y132M4,ASA87-Y15KW,ASA87-Y160M4,ASA87-Y2.2KW,ASA87-Y3KW,ASA87-Y4KW,ASA87-Y5.5KW,ASA87-Y7.5KW,ASA87-Y71M4,ASA87-Y80M4,ASA87-Y90M4,ASA87-YB100M4,ASA87-YB112M4,ASA87-YB132M4,ASA87-YB160M4,ASA87-YB71M4,ASA87-YB80M4,ASA87-YB90M4,ASA87-YDP100M4,ASA87-YDP112M4,ASA87-YDP132M4,ASA87-YDP160M4,ASA87-YDP71M4,ASA87-YDP80M4,ASA87-YDP90M4,ASA87-YE100M4,ASA87-YE112M4,ASA87-YE132M4,ASA87-YE160M4,ASA87-YE71M4,ASA87-YE80M4,ASA87-YE90M4,ASA87-YEJ100M4,ASA87-YEJ112M4,ASA87-YEJ132M4,ASA87-YEJ160M4,ASA87-YEJ71M4,ASA87-YEJ80M4,ASA87-YEJ90M4,ASA87-YEJB100M4,ASA87-YEJB112M4,ASA87-YEJB132M4,ASA87-YEJB160M4,ASA87-YEJB71M4,ASA87-YEJB80M4,ASA87-YEJB90M4,ASA87-YP100M4,ASA87-YP112M4,ASA87-YP132M4,ASA87-YP160M4,ASA87-YP71M4,ASA87-YP80M4,ASA87-YP90M4,ASA87-YPB100M4,ASA87-YPB112M4,ASA87-YPB132M4,ASA87-YPB160M4,ASA87-YPB71M4,ASA87-YPB80M4,ASA87-YPB90M4,ASA87-YPE100M4,ASA87-YPE112M4,ASA87-YPE132M4,ASA87-YPE160M4,ASA87-YPE71M4,ASA87-YPE80M4,ASA87-YPE90M4,ASA87-YS100M4,ASA87-YS112M4,ASA87-YS132M4,ASA87-YS160M4,ASA87-YS71M4,ASA87-YS80M4,ASA87-YS90M4,ASA87-YVB100M4,ASA87-YVB112M4,ASA87-YVB132M4,ASA87-YVB160M4,ASA87-YVB71M4,ASA87-YVB80M4,ASA87-YVB90M4,ASA87-YVP100M4,ASA87-YVP112M4,ASA87-YVP132M4,ASA87-YVP160M4,ASA87-YVP71M4,ASA87-YVP80M4,ASA87-YVP90M4,ASA87-YVPEJ100M4,ASA87-YVPEJ112M4,ASA87-YVPEJ132M4,ASA87-YVPEJ160M4,ASA87-YVPEJ71M4,ASA87-YVPEJ80M4,ASA87-YVPEJ90M4,GSA89-Y0.55KW,GSA89-Y0.75KW,GSA89-Y1.1KW,GSA89-Y1.5KW,GSA89-Y100M4,GSA89-Y112M4,GSA89-Y11KW,GSA89-Y132M4,GSA89-Y15KW,GSA89-Y160M4,GSA89-Y2.2KW,GSA89-Y3KW,GSA89-Y4KW,GSA89-Y5.5KW,GSA89-Y7.5KW,GSA89-Y71M4,GSA89-Y80M4,GSA89-Y90M4,GSA89-YB100M4,GSA89-YB112M4,GSA89-YB132M4,GSA89-YB160M4,GSA89-YB71M4,GSA89-YB80M4,GSA89-YB90M4,GSA89-YDP100M4,GSA89-YDP112M4,GSA89-YDP132M4,GSA89-YDP160M4,GSA89-YDP71M4,GSA89-YDP80M4,GSA89-YDP90M4,GSA89-YE100M4,GSA89-YE112M4,GSA89-YE132M4,GSA89-YE160M4,GSA89-YE71M4,GSA89-YE80M4,GSA89-YE90M4,GSA89-YEJ100M4,GSA89-YEJ112M4,GSA89-YEJ132M4,GSA89-YEJ160M4,GSA89-YEJ71M4,GSA89-YEJ80M4,GSA89-YEJ90M4,GSA89-YEJB100M4,GSA89-YEJB112M4,GSA89-YEJB132M4,GSA89-YEJB160M4,GSA89-YEJB71M4,GSA89-YEJB80M4,GSA89-YEJB90M4,GSA89-YP100M4,GSA89-YP112M4,GSA89-YP132M4,GSA89-YP160M4,GSA89-YP71M4,GSA89-YP80M4,GSA89-YP90M4,GSA89-YPB100M4,GSA89-YPB112M4,GSA89-YPB132M4,GSA89-YPB160M4,GSA89-YPB71M4,GSA89-YPB80M4,GSA89-YPB90M4,GSA89-YPE100M4,GSA89-YPE112M4,GSA89-YPE132M4,GSA89-YPE160M4,GSA89-YPE71M4,GSA89-YPE80M4,GSA89-YPE90M4,GSA89-YS100M4,GSA89-YS112M4,GSA89-YS132M4,GSA89-YS160M4,GSA89-YS71M4,GSA89-YS80M4,GSA89-YS90M4,GSA89-YVB100M4,GSA89-YVB112M4,GSA89-YVB132M4,GSA89-YVB160M4,GSA89-YVB71M4,GSA89-YVB80M4,GSA89-YVB90M4,GSA89-YVP100M4,GSA89-YVP112M4,GSA89-YVP132M4,GSA89-YVP160M4,GSA89-YVP71M4,GSA89-YVP80M4,GSA89-YVP90M4,GSA89-YVPEJ100M4,GSA89-YVPEJ112M4,GSA89-YVPEJ132M4,GSA89-YVPEJ160M4,GSA89-YVPEJ71M4,GSA89-YVPEJ80M4,GSA89-YVPEJ90M4。
SA89減速機生產廠家展示:看廠請聯系微信13827261050,獲取位置,需提前一天預約http://www.personalisedwinelabels.com/product/list-saxiliejiansuji-cn.html




推薦類似型號:S89減速機
關鍵詞:私服電機帶減速機一體機_伺服電機連接減速機_SA系列減速機_私服電機減速機_GSA系列減速機_SA系列減速器_伺服電機連接減速器_私服減速機_私服電機減速器
SA系列減速機型號:SA39減速機,SA49減速機,SA59減速機,SA69減速機,SA79減速機,SA89減速機,SA99齒輪減速電機
SA系列自鎖減速機可配變頻電機,剎車電機,防爆電機,伺服電機,交流電機,直流電機,三相電機,單相電機 0.12KW-22KW之間
如需工程師幫選型,請加微信13827261050,留言告知工程師參數要求
標簽:   SA89減速機 SA87減速機結構圖 SA87減速機數模 SA87減速機樣本 SA87減速機規格